SA39减速机铭牌参数说明解读含义:有关型号描述的详细情况及其他信息可以参阅本业附件下载中的SA39减速机选型样本。
SA39-BEJB0.75KW-4P-10.91-M2-90°
SA:系列代号
39:减速机规格代号
BEJB:电机
0.75KW:电机功率
4P:电机级数
10.91:减速机传动比
M2:减速机安装位置
90°:接线盒位置

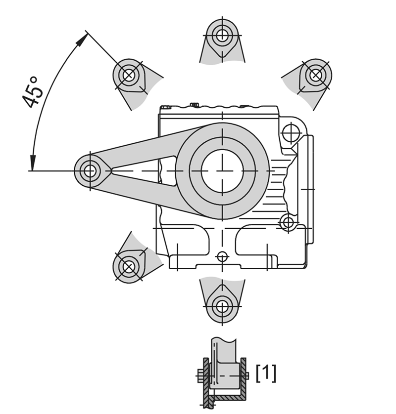
SA39减速机扭力臂安装:
装配时不得对扭矩支架用力过猛,固定扭矩臂时应采用强度为8.8级的螺栓。下图为SA39减速机的扭力臂安装示意图:两面均安装支架。齿轮减速电机

减速机型号 | 螺栓 | 拧紧扭矩 |
SA39减速机 | 4xM6x16-8.8 | 11Nm |
SA49减速机 | 4xM8x20-8.8 | 25Nm |
SA59减速机 | 6xM8x20-8.8 | 25Nm |
SA69减速机 | 8xM12x25-8.8 | 86Nm |
SA79减速机 | 8xM12x35-8.8 | 86Nm |
SA89减速机 | 8xM16x35-8.8 | 210Nm |
SA99减速机 | 8xM16x35-8.8 | 210Nm |
SA39减速机电机安装和电机安装位置的调整:
均匀调整螺母将电机安装平台固定到需要的位置。如要将SA39减速机的位置调整到最低,则在必要情况下可以拆除吊装螺栓/吊耳;对于损伤的漆面部位进行修补。自锁减速机
将电机与电机安装平台对准(轴端不许对齐)并固定。
将输入端部件安装于输入端的轴端面和电机轴,将输入部件、轴端与电机轴的位置相互校正;如果必要可以对电机位置进行再次校正。
装上传动部件(V型皮带、链条...)并均匀调节电机安装平台使其预张紧。期间不得用力过猛,否则将会拧坏电机安装平台和螺杆。
拧紧非调整螺母以固定螺杆。伺服电机连接减速机

SA39减速机型号:
WSA37-Y0.12KW,WSA37-Y0.18KW,WSA37-Y0.25KW,WSA37-Y0.37KW,WSA37-Y0.55KW,WSA37-Y0.75KW,WSA37-Y1.1KW,WSA37-Y1.5KW,WSA37-Y63M4,WSA37-Y71M4,WSA37-Y80M4,WSA37-Y90M4,WSA37-YB63M4,WSA37-YB71M4,WSA37-YB80M4,WSA37-YB90M4,WSA37-YDP63M4,WSA37-YDP71M4,WSA37-YDP80M4,WSA37-YDP90M4,WSA37-YE63M4,WSA37-YE71M4,WSA37-YE80M4,WSA37-YE90M4,WSA37-YEJ63M4,WSA37-YEJ71M4,WSA37-YEJ80M4,WSA37-YEJ90M4,WSA37-YEJB63M4,WSA37-YEJB71M4,WSA37-YEJB80M4,WSA37-YEJB90M4,WSA37-YP63M4,WSA37-YP71M4,WSA37-YP80M4,WSA37-YP90M4,WSA37-YPB63M4,WSA37-YPB71M4,WSA37-YPB80M4,WSA37-YPB90M4,WSA37-YPE63M4,WSA37-YPE71M4,WSA37-YPE80M4,WSA37-YPE90M4,WSA37-YS63M4,WSA37-YS71M4,WSA37-YS80M4,WSA37-YS90M4,WSA37-YVB63M4,WSA37-YVB71M4,WSA37-YVB80M4,WSA37-YVB90M4,WSA37-YVP63M4,WSA37-YVP71M4,WSA37-YVP80M4,WSA37-YVP90M4,WSA37-YVPEJ63M4,WSA37-YVPEJ71M4,WSA37-YVPEJ80M4,WSA37-YVPEJ90M4,NSA37-Y0.12KW,NSA37-Y0.18KW,NSA37-Y0.25KW,NSA37-Y0.37KW,NSA37-Y0.55KW,NSA37-Y0.75KW,NSA37-Y1.1KW,NSA37-Y1.5KW,NSA37-Y63M4,NSA37-Y71M4,NSA37-Y80M4,NSA37-Y90M4,NSA37-YB63M4,NSA37-YB71M4,NSA37-YB80M4,NSA37-YB90M4,NSA37-YDP63M4,NSA37-YDP71M4,NSA37-YDP80M4,NSA37-YDP90M4,NSA37-YE63M4,NSA37-YE71M4,NSA37-YE80M4,NSA37-YE90M4,NSA37-YEJ63M4,NSA37-YEJ71M4,NSA37-YEJ80M4,NSA37-YEJ90M4,NSA37-YEJB63M4,NSA37-YEJB71M4,NSA37-YEJB80M4,NSA37-YEJB90M4,NSA37-YP63M4,NSA37-YP71M4,NSA37-YP80M4,NSA37-YP90M4,NSA37-YPB63M4,NSA37-YPB71M4,NSA37-YPB80M4,NSA37-YPB90M4,NSA37-YPE63M4,NSA37-YPE71M4,NSA37-YPE80M4,NSA37-YPE90M4,NSA37-YS63M4,NSA37-YS71M4,NSA37-YS80M4,NSA37-YS90M4,NSA37-YVB63M4,NSA37-YVB71M4,NSA37-YVB80M4,NSA37-YVB90M4,NSA37-YVP63M4,NSA37-YVP71M4,NSA37-YVP80M4,NSA37-YVP90M4,NSA37-YVPEJ63M4,NSA37-YVPEJ71M4,NSA37-YVPEJ80M4,NSA37-YVPEJ90M4,ASA37-Y0.12KW,ASA37-Y0.18KW,ASA37-Y0.25KW,ASA37-Y0.37KW,ASA37-Y0.55KW,ASA37-Y0.75KW,ASA37-Y1.1KW,ASA37-Y1.5KW,ASA37-Y63M4,ASA37-Y71M4,ASA37-Y80M4,ASA37-Y90M4,ASA37-YB63M4,ASA37-YB71M4,ASA37-YB80M4,ASA37-YB90M4,ASA37-YDP63M4,ASA37-YDP71M4,ASA37-YDP80M4,ASA37-YDP90M4,ASA37-YE63M4,ASA37-YE71M4,ASA37-YE80M4,ASA37-YE90M4,ASA37-YEJ63M4,ASA37-YEJ71M4,ASA37-YEJ80M4,ASA37-YEJ90M4,ASA37-YEJB63M4,ASA37-YEJB71M4,ASA37-YEJB80M4,ASA37-YEJB90M4,ASA37-YP63M4,ASA37-YP71M4,ASA37-YP80M4,ASA37-YP90M4,ASA37-YPB63M4,ASA37-YPB71M4,ASA37-YPB80M4,ASA37-YPB90M4,ASA37-YPE63M4,ASA37-YPE71M4,ASA37-YPE80M4,ASA37-YPE90M4,ASA37-YS63M4,ASA37-YS71M4,ASA37-YS80M4,ASA37-YS90M4,ASA37-YVB63M4,ASA37-YVB71M4,ASA37-YVB80M4,ASA37-YVB90M4,ASA37-YVP63M4,ASA37-YVP71M4,ASA37-YVP80M4,ASA37-YVP90M4,ASA37-YVPEJ63M4,ASA37-YVPEJ71M4,ASA37-YVPEJ80M4,ASA37-YVPEJ90M4,SSA37-Y0.12KW,SSA37-Y0.18KW,SSA37-Y0.25KW,SSA37-Y0.37KW,SSA37-Y0.55KW,SSA37-Y0.75KW,SSA37-Y1.1KW,SSA37-Y1.5KW,SSA37-Y63M4,SSA37-Y71M4,SSA37-Y80M4,SSA37-Y90M4,SSA37-YB63M4,SSA37-YB71M4,SSA37-YB80M4,SSA37-YB90M4,SSA37-YDP63M4,SSA37-YDP71M4,SSA37-YDP80M4,SSA37-YDP90M4,SSA37-YE63M4,SSA37-YE71M4,SSA37-YE80M4,SSA37-YE90M4,SSA37-YEJ63M4,SSA37-YEJ71M4,SSA37-YEJ80M4,SSA37-YEJ90M4,SSA37-YEJB63M4,SSA37-YEJB71M4,SSA37-YEJB80M4,SSA37-YEJB90M4,SSA37-YP63M4,SSA37-YP71M4,SSA37-YP80M4,SSA37-YP90M4,SSA37-YPB63M4,SSA37-YPB71M4,SSA37-YPB80M4,SSA37-YPB90M4,SSA37-YPE63M4,SSA37-YPE71M4,SSA37-YPE80M4,SSA37-YPE90M4,SSA37-YS63M4,SSA37-YS71M4,SSA37-YS80M4,SSA37-YS90M4,SSA37-YVB63M4,SSA37-YVB71M4,SSA37-YVB80M4,SSA37-YVB90M4,SSA37-YVP63M4,SSA37-YVP71M4,SSA37-YVP80M4,SSA37-YVP90M4,SSA37-YVPEJ63M4,SSA37-YVPEJ71M4,SSA37-YVPEJ80M4,SSA37-YVPEJ90M4,GSA39-Y0.12KW,GSA39-Y0.18KW,GSA39-Y0.25KW,GSA39-Y0.37KW,GSA39-Y0.55KW,GSA39-Y0.75KW,GSA39-Y1.1KW,GSA39-Y1.5KW,GSA39-Y63M4,GSA39-Y71M4,GSA39-Y80M4,GSA39-Y90M4,GSA39-YB63M4,GSA39-YB71M4,GSA39-YB80M4,GSA39-YB90M4,GSA39-YDP63M4,GSA39-YDP71M4,GSA39-YDP80M4,GSA39-YDP90M4,GSA39-YE63M4,GSA39-YE71M4,GSA39-YE80M4,GSA39-YE90M4,GSA39-YEJ63M4,GSA39-YEJ71M4,GSA39-YEJ80M4,GSA39-YEJ90M4,GSA39-YEJB63M4,GSA39-YEJB71M4,GSA39-YEJB80M4,GSA39-YEJB90M4,GSA39-YP63M4,GSA39-YP71M4,GSA39-YP80M4,GSA39-YP90M4,GSA39-YPB63M4,GSA39-YPB71M4,GSA39-YPB80M4,GSA39-YPB90M4,GSA39-YPE63M4,GSA39-YPE71M4,GSA39-YPE80M4,GSA39-YPE90M4,GSA39-YS63M4,GSA39-YS71M4,GSA39-YS80M4,GSA39-YS90M4,GSA39-YVB63M4,GSA39-YVB71M4,GSA39-YVB80M4,GSA39-YVB90M4,GSA39-YVP63M4,GSA39-YVP71M4,GSA39-YVP80M4,GSA39-YVP90M4,GSA39-YVPEJ63M4,GSA39-YVPEJ71M4,GSA39-YVPEJ80M4,GSA39-YVPEJ90M4。
SA39减速机生产厂家展示:看厂请联系微信13827261050,获取位置,需提前一天预约http://www.ww025.com/product/list-saxiliejiansuji-cn.html




推荐类似型号:S39减速机
关键词:私服电机带减速机一体机_伺服电机连接减速机_SA系列减速机_私服电机减速机_GSA系列减速机_SA系列减速器_伺服电机连接减速器_私服减速机_私服电机减速器
SA系列减速机型号:SA39减速机,SA49减速机,SA59减速机,SA69减速机,SA79减速机,SA89减速机,SA99齿轮减速电机
SA系列自锁减速机可配变频电机,刹车电机,防爆电机,伺服电机,交流电机,直流电机,三相电机,单相电机 0.12KW-22KW之间
如需工程师帮选型,请加微信13827261050,留言告知工程师参数要求
标签:   SA39减速机 SA37减速机结构图 SA37减速机数模 SA37减速机样本 SA37减速机规格