FAF69减速机铭牌参数说明解读含义:有关型号描述的详细情况及其他信息可以参阅本业附件下载中的FAF69减速机选型样本。
FAF69-YDP5.5KW-4P-11.31-M1-180°
FAF:系列代号
69:减速机规格代号
YDP:电机
5.5KW:电机功率
4P:电机级数
11.31:减速机传动比
M1:减速机安装位置
180°:接线盒位置

FAF69减速机AD轴入模块配置:
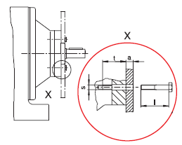
FAF69减速机AD轴入模块使用对中轴肩安装应用设备:对应用设备进行固定时,必须提供相应长度的螺栓。新螺栓的长度L计算如下:[1]t+a;[t]旋入深度(参见表格);[a]应用设备的厚度;[s]紧固螺纹(参见表格)

FAF69减速机AD轴入模块根据计算所得的螺栓长度,选取最接近的较小的标准长度;从对中轴肩上卸下固定螺栓;清洁装配表面和对中轴肩;清洁新螺栓的螺纹并且使用螺栓紧固剂抹在前段螺纹上;将应用设备装在对中轴肩上,并根据下表所列的拧紧扭矩TA(见下表)拧入紧固螺栓。变频电机减速机
FAF69减速机AD轴入模块型号 | 旋入深度 t[mm] | 紧固螺纹 S | 拧紧扭矩 TA用于强度等级为8.8的连接螺栓 |
FAF69AD2/ZR | 25.5 | M8 | 25 |
FAF69AD3ZR | 31.5 | M10 | 48 |
FAF69AD4/ZR | 36 | M12 | 86 |
FAF69AD5/ZR | 44 | M12 | 86 |
FAF69AD6/ZR | 48.5 | M16 | 210 |
FAF69AD7/ZR | 49 | M20 | 410 |
FAF69AD8/ZR | 42 | M12 | 86 |
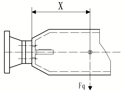
FAF69减速机AD轴入模块允许荷载:安装电机时可能出现超常负荷;严禁超出下表所列的负荷值。强度等级为8.8的连接螺栓的最大负荷值。电机的最大允许许重力Fqmax,随着中心距X的增加而呈线性下降。在中心距减小的情况下,Fqmax不增加;联轴器输出法兰盘直径:160mm。齿轮减速电机

FAF69减速机AD轴入模块型号 | X [mm] | F q [N] |
FAF69AD2/ZR | 193 | 330 |
FAF69AD3/ZR | 274 | 1400 |
FAF69AD4/ZR | 361 | 1120 |
FAF69AD4/ZR | 361 | 3300 |
FAF69AD5/ZR | 487 | 3200 |
FAF69AD6/ZR | 567 | 3900 |
FAF69AD7/ZR | 663 | 10000 |
FAF69AD8/ZR | 516 | 4300 |
FAF69减速机AD轴入模块在进行调节之前松开螺母,使得螺栓可以在支架上轴向移动。当到达最终调节位置后再上紧螺母。不可通过支架来调整电机安装平台。
FAF69减速机维护检查:
FAF69减速机检查:首次运行300小时后更换润滑油,以后每6个月或3000小时检查一次,发现油位不足或明显浑浊应及时更换(参考下列图表):操作步骤检查油的质量与油位;检查是否可能因轴承损坏产生运转噪音;检查密封圈是否漏油;对于带扭矩臂的FAF69减速机:检测橡胶缓冲块,必要时进行更换。根据工作条件(参见下列图表),至少每隔半年(每6个月)根据油温决定:操作步骤更换矿物油;更换轴承润滑脂(推荐);更换油封(不要安装在同样工作轨迹上)。根据工作条件(参见下列图表),至少每隔半年(每6个月)根据油温决定:操作步骤更换合成润滑油;更换轴承润滑脂(推荐);更换油封(不要安装在同样工作轨迹上)。示具体情况而定,不定期检查(取决于外部影响):修补或者更新表面漆/防锈漆。
FAF69减速机润滑油更换周期:下图为在一般条件下标准FAF69减速机的更换周期,对于恶劣环境或有腐蚀条件下使用的特殊情况要缩短更换润滑油的间隔。平行轴斜齿轮减速机

FAF69减速机维护:根据外部受到的影响,可以在必要情况下对表面漆/防锈漆进行修补或更新。

FAF69减速机型号:
WFAF67-Y0.18KW,WFAF67-Y0.25KW,WFAF67-Y0.37KW,WFAF67-Y0.55KW,WFAF67-Y0.75KW,WFAF67-Y1.1KW,WFAF67-Y1.5KW,WFAF67-Y100M4,WFAF67-Y112M4,WFAF67-Y132M4,WFAF67-Y2.2KW,WFAF67-Y3KW,WFAF67-Y4KW,WFAF67-Y5.5KW,WFAF67-Y63M4,WFAF67-Y71M4,WFAF67-Y80M4,WFAF67-Y90M4,WFAF67-YB100M4,WFAF67-YB112M4,WFAF67-YB132M4,WFAF67-YB63M4,WFAF67-YB71M4,WFAF67-YB80M4,WFAF67-YB90M4,WFAF67-YDP100M4,WFAF67-YDP112M4,WFAF67-YDP132M4,WFAF67-YDP63M4,WFAF67-YDP71M4,WFAF67-YDP80M4,WFAF67-YDP90M4,WFAF67-YE100M4,WFAF67-YE112M4,WFAF67-YE132M4,WFAF67-YE63M4,WFAF67-YE71M4,WFAF67-YE80M4,WFAF67-YE90M4,WFAF67-YEJ100M4,WFAF67-YEJ112M4,WFAF67-YEJ132M4,WFAF67-YEJ63M4,WFAF67-YEJ71M4,WFAF67-YEJ80M4,WFAF67-YEJ90M4,WFAF67-YEJB100M4,WFAF67-YEJB112M4,WFAF67-YEJB132M4,WFAF67-YEJB63M4,WFAF67-YEJB71M4,WFAF67-YEJB80M4,WFAF67-YEJB90M4,WFAF67-YP100M4,WFAF67-YP112M4,WFAF67-YP132M4,WFAF67-YP63M4,WFAF67-YP71M4,WFAF67-YP80M4,WFAF67-YP90M4,WFAF67-YPB100M4,WFAF67-YPB112M4,WFAF67-YPB132M4,WFAF67-YPB63M4,WFAF67-YPB71M4,WFAF67-YPB80M4,WFAF67-YPB90M4,WFAF67-YPE100M4,WFAF67-YPE112M4,WFAF67-YPE132M4,WFAF67-YPE63M4,WFAF67-YPE71M4,WFAF67-YPE80M4,WFAF67-YPE90M4,WFAF67-YS100M4,WFAF67-YS112M4,WFAF67-YS132M4,WFAF67-YS63M4,WFAF67-YS71M4,WFAF67-YS80M4,WFAF67-YS90M4,WFAF67-YVB100M4,WFAF67-YVB112M4,WFAF67-YVB132M4,WFAF67-YVB63M4,WFAF67-YVB71M4,WFAF67-YVB80M4,WFAF67-YVB90M4,WFAF67-YVP100M4,WFAF67-YVP112M4,WFAF67-YVP132M4,WFAF67-YVP63M4,WFAF67-YVP71M4,WFAF67-YVP80M4,WFAF67-YVP90M4,WFAF67-YVPEJ100M4,WFAF67-YVPEJ112M4,WFAF67-YVPEJ132M4,WFAF67-YVPEJ63M4,WFAF67-YVPEJ71M4,WFAF67-YVPEJ80M4,WFAF67-YVPEJ90M4,SFAF67-Y0.18KW,SFAF67-Y0.25KW,SFAF67-Y0.37KW,SFAF67-Y0.55KW,SFAF67-Y0.75KW,SFAF67-Y1.1KW,SFAF67-Y1.5KW,SFAF67-Y100M4,SFAF67-Y112M4,SFAF67-Y132M4,SFAF67-Y2.2KW,SFAF67-Y3KW,SFAF67-Y4KW,SFAF67-Y5.5KW,SFAF67-Y63M4,SFAF67-Y71M4,SFAF67-Y80M4,SFAF67-Y90M4,SFAF67-YB100M4,SFAF67-YB112M4,SFAF67-YB132M4,SFAF67-YB63M4,SFAF67-YB71M4,SFAF67-YB80M4,SFAF67-YB90M4,SFAF67-YDP100M4,SFAF67-YDP112M4,SFAF67-YDP132M4,SFAF67-YDP63M4,SFAF67-YDP71M4,SFAF67-YDP80M4,SFAF67-YDP90M4,SFAF67-YE100M4,SFAF67-YE112M4,SFAF67-YE132M4,SFAF67-YE63M4,SFAF67-YE71M4,SFAF67-YE80M4,SFAF67-YE90M4,SFAF67-YEJ100M4,SFAF67-YEJ112M4,SFAF67-YEJ132M4,SFAF67-YEJ63M4,SFAF67-YEJ71M4,SFAF67-YEJ80M4,SFAF67-YEJ90M4,SFAF67-YEJB100M4,SFAF67-YEJB112M4,SFAF67-YEJB132M4,SFAF67-YEJB63M4,SFAF67-YEJB71M4,SFAF67-YEJB80M4,SFAF67-YEJB90M4,SFAF67-YP100M4,SFAF67-YP112M4,SFAF67-YP132M4,SFAF67-YP63M4,SFAF67-YP71M4,SFAF67-YP80M4,SFAF67-YP90M4,SFAF67-YPB100M4,SFAF67-YPB112M4,SFAF67-YPB132M4,SFAF67-YPB63M4,SFAF67-YPB71M4,SFAF67-YPB80M4,SFAF67-YPB90M4,SFAF67-YPE100M4,SFAF67-YPE112M4,SFAF67-YPE132M4,SFAF67-YPE63M4,SFAF67-YPE71M4,SFAF67-YPE80M4,SFAF67-YPE90M4,SFAF67-YS100M4,SFAF67-YS112M4,SFAF67-YS132M4,SFAF67-YS63M4,SFAF67-YS71M4,SFAF67-YS80M4,SFAF67-YS90M4,SFAF67-YVB100M4,SFAF67-YVB112M4,SFAF67-YVB132M4,SFAF67-YVB63M4,SFAF67-YVB71M4,SFAF67-YVB80M4,SFAF67-YVB90M4,SFAF67-YVP100M4,SFAF67-YVP112M4,SFAF67-YVP132M4,SFAF67-YVP63M4,SFAF67-YVP71M4,SFAF67-YVP80M4,SFAF67-YVP90M4,SFAF67-YVPEJ100M4,SFAF67-YVPEJ112M4,SFAF67-YVPEJ132M4,SFAF67-YVPEJ63M4,SFAF67-YVPEJ71M4,SFAF67-YVPEJ80M4,SFAF67-YVPEJ90M4,NFAF67-Y0.18KW,NFAF67-Y0.25KW,NFAF67-Y0.37KW,NFAF67-Y0.55KW,NFAF67-Y0.75KW,NFAF67-Y1.1KW,NFAF67-Y1.5KW,NFAF67-Y100M4,NFAF67-Y112M4,NFAF67-Y132M4,NFAF67-Y2.2KW,NFAF67-Y3KW,NFAF67-Y4KW,NFAF67-Y5.5KW,NFAF67-Y63M4,NFAF67-Y71M4,NFAF67-Y80M4,NFAF67-Y90M4,NFAF67-YB100M4,NFAF67-YB112M4,NFAF67-YB132M4,NFAF67-YB63M4,NFAF67-YB71M4,NFAF67-YB80M4,NFAF67-YB90M4,NFAF67-YDP100M4,NFAF67-YDP112M4,NFAF67-YDP132M4,NFAF67-YDP63M4,NFAF67-YDP71M4,NFAF67-YDP80M4,NFAF67-YDP90M4,NFAF67-YE100M4,NFAF67-YE112M4,NFAF67-YE132M4,NFAF67-YE63M4,NFAF67-YE71M4,NFAF67-YE80M4,NFAF67-YE90M4,NFAF67-YEJ100M4,NFAF67-YEJ112M4,NFAF67-YEJ132M4,NFAF67-YEJ63M4,NFAF67-YEJ71M4,NFAF67-YEJ80M4,NFAF67-YEJ90M4,NFAF67-YEJB100M4,NFAF67-YEJB112M4,NFAF67-YEJB132M4,NFAF67-YEJB63M4,NFAF67-YEJB71M4,NFAF67-YEJB80M4,NFAF67-YEJB90M4,NFAF67-YP100M4,NFAF67-YP112M4,NFAF67-YP132M4,NFAF67-YP63M4,NFAF67-YP71M4,NFAF67-YP80M4,NFAF67-YP90M4,NFAF67-YPB100M4,NFAF67-YPB112M4,NFAF67-YPB132M4,NFAF67-YPB63M4,NFAF67-YPB71M4,NFAF67-YPB80M4,NFAF67-YPB90M4,NFAF67-YPE100M4,NFAF67-YPE112M4,NFAF67-YPE132M4,NFAF67-YPE63M4,NFAF67-YPE71M4,NFAF67-YPE80M4,NFAF67-YPE90M4,NFAF67-YS100M4,NFAF67-YS112M4,NFAF67-YS132M4,NFAF67-YS63M4,NFAF67-YS71M4,NFAF67-YS80M4,NFAF67-YS90M4,NFAF67-YVB100M4,NFAF67-YVB112M4,NFAF67-YVB132M4,NFAF67-YVB63M4,NFAF67-YVB71M4,NFAF67-YVB80M4,NFAF67-YVB90M4,NFAF67-YVP100M4,NFAF67-YVP112M4,NFAF67-YVP132M4,NFAF67-YVP63M4,NFAF67-YVP71M4,NFAF67-YVP80M4,NFAF67-YVP90M4,NFAF67-YVPEJ100M4,NFAF67-YVPEJ112M4,NFAF67-YVPEJ132M4,NFAF67-YVPEJ63M4,NFAF67-YVPEJ71M4,NFAF67-YVPEJ80M4,NFAF67-YVPEJ90M4,AFAF67-Y0.18KW,AFAF67-Y0.25KW,AFAF67-Y0.37KW,AFAF67-Y0.55KW,AFAF67-Y0.75KW,AFAF67-Y1.1KW,AFAF67-Y1.5KW,AFAF67-Y100M4,AFAF67-Y112M4,AFAF67-Y132M4,AFAF67-Y2.2KW,AFAF67-Y3KW,AFAF67-Y4KW,AFAF67-Y5.5KW,AFAF67-Y63M4,AFAF67-Y71M4,AFAF67-Y80M4,AFAF67-Y90M4,AFAF67-YB100M4,AFAF67-YB112M4,AFAF67-YB132M4,AFAF67-YB63M4,AFAF67-YB71M4,AFAF67-YB80M4,AFAF67-YB90M4,AFAF67-YDP100M4,AFAF67-YDP112M4,AFAF67-YDP132M4,AFAF67-YDP63M4,AFAF67-YDP71M4,AFAF67-YDP80M4,AFAF67-YDP90M4,AFAF67-YE100M4,AFAF67-YE112M4,AFAF67-YE132M4,AFAF67-YE63M4,AFAF67-YE71M4,AFAF67-YE80M4,AFAF67-YE90M4,AFAF67-YEJ100M4,AFAF67-YEJ112M4,AFAF67-YEJ132M4,AFAF67-YEJ63M4,AFAF67-YEJ71M4,AFAF67-YEJ80M4,AFAF67-YEJ90M4,AFAF67-YEJB100M4,AFAF67-YEJB112M4,AFAF67-YEJB132M4,AFAF67-YEJB63M4,AFAF67-YEJB71M4,AFAF67-YEJB80M4,AFAF67-YEJB90M4,AFAF67-YP100M4,AFAF67-YP112M4,AFAF67-YP132M4,AFAF67-YP63M4,AFAF67-YP71M4,AFAF67-YP80M4,AFAF67-YP90M4,AFAF67-YPB100M4,AFAF67-YPB112M4,AFAF67-YPB132M4,AFAF67-YPB63M4,AFAF67-YPB71M4,AFAF67-YPB80M4,AFAF67-YPB90M4,AFAF67-YPE100M4,AFAF67-YPE112M4,AFAF67-YPE132M4,AFAF67-YPE63M4,AFAF67-YPE71M4,AFAF67-YPE80M4,AFAF67-YPE90M4,AFAF67-YS100M4,AFAF67-YS112M4,AFAF67-YS132M4,AFAF67-YS63M4,AFAF67-YS71M4,AFAF67-YS80M4,AFAF67-YS90M4,AFAF67-YVB100M4,AFAF67-YVB112M4,AFAF67-YVB132M4,AFAF67-YVB63M4,AFAF67-YVB71M4,AFAF67-YVB80M4,AFAF67-YVB90M4,AFAF67-YVP100M4,AFAF67-YVP112M4,AFAF67-YVP132M4,AFAF67-YVP63M4,AFAF67-YVP71M4,AFAF67-YVP80M4,AFAF67-YVP90M4,AFAF67-YVPEJ100M4,AFAF67-YVPEJ112M4,AFAF67-YVPEJ132M4,AFAF67-YVPEJ63M4,AFAF67-YVPEJ71M4,AFAF67-YVPEJ80M4,AFAF67-YVPEJ90M4,GFAF69-Y0.18KW,GFAF69-Y0.25KW,GFAF69-Y0.37KW,GFAF69-Y0.55KW,GFAF69-Y0.75KW,GFAF69-Y1.1KW,GFAF69-Y1.5KW,GFAF69-Y100M4,GFAF69-Y112M4,GFAF69-Y132M4,GFAF69-Y2.2KW,GFAF69-Y3KW,GFAF69-Y4KW,GFAF69-Y5.5KW,GFAF69-Y63M4,GFAF69-Y71M4,GFAF69-Y80M4,GFAF69-Y90M4,GFAF69-YB100M4,GFAF69-YB112M4,GFAF69-YB132M4,GFAF69-YB63M4,GFAF69-YB71M4,GFAF69-YB80M4,GFAF69-YB90M4,GFAF69-YDP100M4,GFAF69-YDP112M4,GFAF69-YDP132M4,GFAF69-YDP63M4,GFAF69-YDP71M4,GFAF69-YDP80M4,GFAF69-YDP90M4,GFAF69-YE100M4,GFAF69-YE112M4,GFAF69-YE132M4,GFAF69-YE63M4,GFAF69-YE71M4,GFAF69-YE80M4,GFAF69-YE90M4,GFAF69-YEJ100M4,GFAF69-YEJ112M4,GFAF69-YEJ132M4,GFAF69-YEJ63M4,GFAF69-YEJ71M4,GFAF69-YEJ80M4,GFAF69-YEJ90M4,GFAF69-YEJB100M4,GFAF69-YEJB112M4,GFAF69-YEJB132M4,GFAF69-YEJB63M4,GFAF69-YEJB71M4,GFAF69-YEJB80M4,GFAF69-YEJB90M4,GFAF69-YP100M4,GFAF69-YP112M4,GFAF69-YP132M4,GFAF69-YP63M4,GFAF69-YP71M4,GFAF69-YP80M4,GFAF69-YP90M4,GFAF69-YPB100M4,GFAF69-YPB112M4,GFAF69-YPB132M4,GFAF69-YPB63M4,GFAF69-YPB71M4,GFAF69-YPB80M4,GFAF69-YPB90M4,GFAF69-YPE100M4,GFAF69-YPE112M4,GFAF69-YPE132M4,GFAF69-YPE63M4,GFAF69-YPE71M4,GFAF69-YPE80M4,GFAF69-YPE90M4,GFAF69-YS100M4,GFAF69-YS112M4,GFAF69-YS132M4,GFAF69-YS63M4,GFAF69-YS71M4,GFAF69-YS80M4,GFAF69-YS90M4,GFAF69-YVB100M4,GFAF69-YVB112M4,GFAF69-YVB132M4,GFAF69-YVB63M4,GFAF69-YVB71M4,GFAF69-YVB80M4,GFAF69-YVB90M4,GFAF69-YVP100M4,GFAF69-YVP112M4,GFAF69-YVP132M4,GFAF69-YVP63M4,GFAF69-YVP71M4,GFAF69-YVP80M4,GFAF69-YVP90M4,GFAF69-YVPEJ100M4,GFAF69-YVPEJ112M4,GFAF69-YVPEJ132M4,GFAF69-YVPEJ63M4,GFAF69-YVPEJ71M4,GFAF69-YVPEJ80M4,GFAF69-YVPEJ90M4。
FAF69减速机生产工厂展示:看厂请联系微信13827261050,获取位置,需提前一天预约http://www.ww025.com/product/list-fafxiliejiansuji-cn.html




推荐类似型号:F69减速机
关键词:带调速电机减速机一体机_变频电机减速机_FAF系列减速机_扁平减速机_FAF向减速机_变频减速机_调速减速机_GFAF系列减速机_FAF系列减速器
FAF系列齿轮减速电机型号:FAF29减速机,FAF39减速机,FAF49减速机,FAF69减速机,FAF79减速机,FAF89减速机,FAF99减速机,FAF109减速机,FAF129减速机,FAF159减速机
FAF系列电动机减速机可配变频电机,刹车电机,防爆电机,伺服电机,交流电机,直流电机,三相电机,单相电机 0.12KW-132KW之间
如需工程师帮选型,请加微信13827261050,留言告知工程师参数要求
标签:   FAF69减速机 FAF67减速机结构图 FAF67减速机数模 FAF67减速机样本 FAF67减速机规格